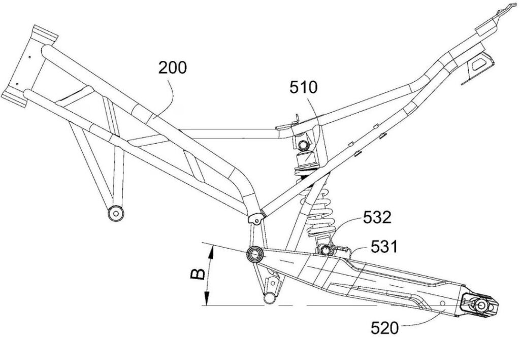
CFMOTO sta sviluppando un innovativo sistema per regolare l’altezza di guida delle moto in modo semplice e veloce. Si tratta di una soluzione che consentirà di modificare l’altezza sull’asse posteriore con una sola mano e senza bisogno di attrezzi o elettronica, con l’obiettivo di ottenere differenti risposte ciclistiche dalla moto.
L’idea è quella di alzare ed abbassare il telaietto posteriore, rendendo la moto più agile nel primo caso, mentre abbassare l’altezza consente di contrastare la tendenza all’impennata e abbassare il baricentro, facilitando ad esempio la gestione del peso durante le manovre a bassa velocità.
Questo tipo di regolazione rappresenta una risposta ai dispositivi di altezza variabile sviluppati in MotoGP (i cosiddetti abbassatori) ripresi concettualmente, ma con logiche differenti, da Case motociclistiche come come Harley-Davidson, BMW e Triumph.


Il sistema brevettato da CFMOTO non va però ad agire sull’idraulica delle sospensioni, bensì offre una regolazione manuale piuttosto semplice: attraverso un pomello è possibile regolare il posizionamento del supporto inferiore dell’ammortizzatore, scegliendo fra tre altezze di guida: alta, media o bassa. Il meccanismo è bloccato da sfere metalliche a molla che si inseriscono in appositi incavi che ne determinano i tre posizionamenti, evitando movimenti indesiderati.
Altri due sistemi
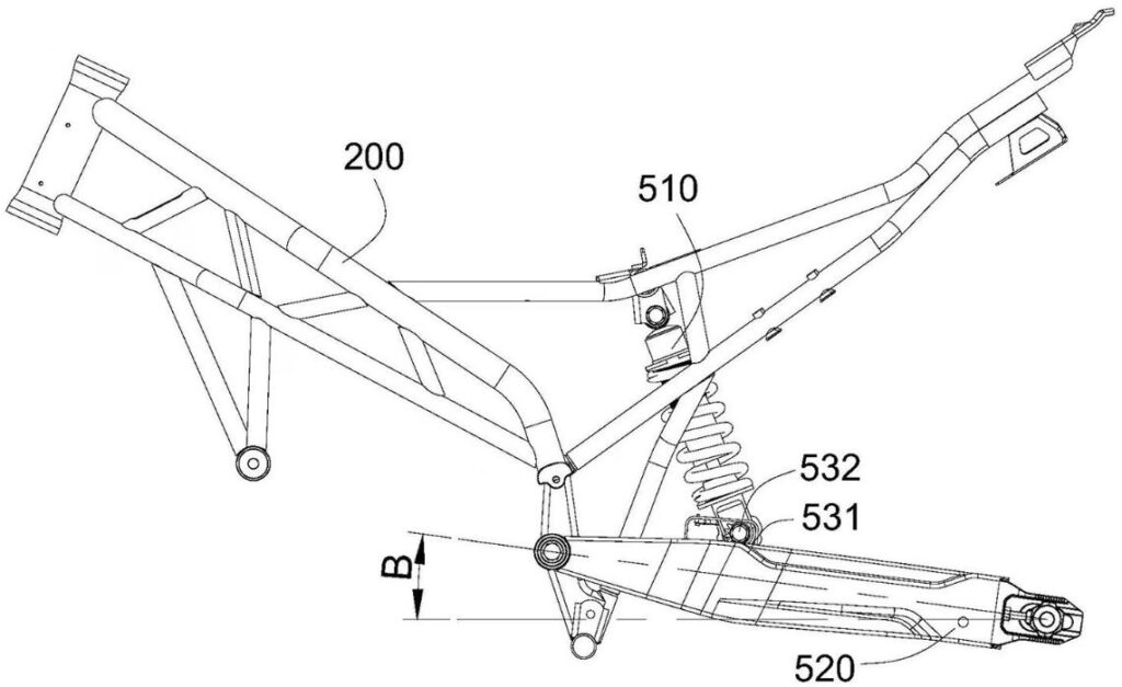
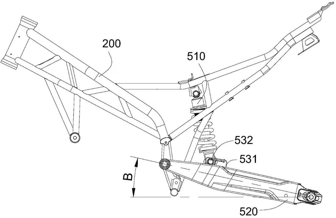
CFMOTO ha anche brevettato due varianti di questo sistema, una con un supporto multiposizione per l’ammortizzatore e l’altra con un collegamento a velocità crescente regolabile. Tuttavia, entrambe richiedono l’uso di attrezzi per la regolazione sulle differenti posizioni, rendendo la prima soluzione la più interessante.

La seconda idea dei tecnici CF consiste in un supporto superiore multiposizione per il monoammortizzatore, fissato al telaio tramite due bulloni. Vi sono però quattro fori equidistanti, in cui è possibile fissare i bulloni. Anche in questo caso, cambiando i fori di fissaggio si otterrebbero tre altezze di guida, ma l’operazione richiederebbe in primis una chiave a bussola, e un ponte da officina o un argano per sollevare la moto durante questa operazione.

La terza variante mostra invece un collegamento a velocità crescente multi-regolabile, con più fori per fissare al telaio e al forcellone il monoammortizzatore. Questa soluzione avrebbe il vantaggio non solo di modificare l’altezza della sospensione posteriore, ma anche la velocità di risposta della sospensione. Tuttavia anche in questo caso è richiesto l’uso di attrezzi e il sollevamento della moto, quantomeno del retrotreno. Tutte le soluzioni risultano molto interessanti dal punto di vista tecnico,

