I segreti del motore della nuova CFMOTO 450MT
È spinta dal motore bicilindrico in linea fronte marcia di 449,5 cc che già equipaggia altri modelli nella gamma CFMOTO. Quello della 450MT è messo a punto in modo specifico per il modello
È spinta dal motore bicilindrico in linea fronte marcia di 449,5 cc che già equipaggia altri modelli nella gamma CFMOTO. Quello della 450MT è messo a punto in modo specifico per il modello
Abbiamo rilevato velocità massima, accelerazione e frenata della nuova BMW M 1000 XR. Il suo motore a quattro cilindri di 999 cc, sarà in linea con le aspettative? Vediamo insieme i dati
Lorem Ipsum is simply dummy text of the printing and typesetting industry. Lorem Ipsum has been the industry’s standard dummy text
Il cuore della CBR600RR 2024 è una versione evoluta del propulsore che equipaggiava la moto quando nel 2017 è uscita dai listini europei. Il nuovo propulsore, però, è stato aggiornato sotto molti aspetti
Honda E-Clutch è un sistema di controllo automatizzato della frizione che mantiene anche il tradizionale comando al manubrio, permettendo un utilizzo delle due modalità, automatica e manuale, senza alcuna soluzione di continuità. Vediamo come è fatta e come funziona
Bosch presenta sei nuove funzioni di assistenza alla guida basate sulla tecnologia radar. Quattro di queste debutteranno su una nuova…
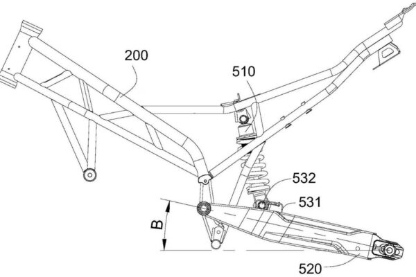
CFMOTO sta sviluppando un innovativo sistema per regolare l’altezza di guida delle moto in modo semplice e veloce. Si tratta…
Caro direttore, dopo aver letto la prova al banco della BMW R 1300 GS, vorrei conoscere la vostra opinione sulle…
La Triumph Tiger 1200 è stata messa sotto torchio per rilevare le sue esatte prestazioni. Abbiamo rilevato con una strumentazione…
Mancava “solo” lei. Dopo l’arrivo della E-Clutch di Honda, dell’Y-AMT di Yamaha e dell’ASA di BMW, il sistema di cambiata…